本機為一臺2800噸三梁四柱液壓機,帶有液壓墊的封頭拉伸機,主要適用于各類壓力容器封頭的冷、熱成型壓制,也用于各類厚、薄鋼板的壓鼓、折邊、校平等工藝。是公司專門為泰安客戶設計定做,可拉伸直徑2米,厚4mm的普板。一次拉伸成型,無褶皺,表面光滑。封頭的沖壓過程是屬于拉延過程。在沖壓過程中,材料產生了復雜的變形,而且在工件不同的部位有著不同的應力應變狀態。對于采用壓邊圈,模具間隙大于封頭毛坯鋼板厚度的封頭沖壓(下圖所示),其各部分材料的應力狀態可大致分析如下。了解封頭的沖壓過程,還需要資料2800噸四柱封頭拉伸機(液壓機)封頭沖壓原理及壓力范圍的確定等前期信息。

處于壓邊圈下部的材料A,主要受切向壓縮應力和徑向拉伸應力,在厚度方向受到壓邊圈的壓力。其變形特點是在切向產生壓縮變形,厚度方向增厚。處于下沖模圓角處的材料B,除受到徑向拉伸和切向壓縮外,還承受彎曲應力。在下沖環與上沖模間隙部分材料C,受到徑向拉伸應力和切向壓縮應力,其變形在切向與徑向有相應的壓縮和拉伸變形。由于該處在厚度方向不受力,因而處于自由變形狀態,在該區域內,愈接近下沖環圓角部分,切向壓縮應力愈大,所以對于薄壁封頭在該區域容易起皺。位于上沖模底部的毛坯材料D,在沒有與上沖模接觸貼合之前,其受力情況基本上與C處相同,使該處毛坯材料被拉薄。當該處與上沖模接觸貼合后,在壓邊摩擦力和沖壓力的作用下,該處只有少量的拉伸變形了。下圖表明橢圓形封頭和球形封頭沖壓后,材料各部分壁厚的變化情況。

影響封頭壁厚變化的因素很多,歸納起來,大致有下列幾方面:
a.材料的性能,如鋁制封頭的變薄量比碳素鋼封頭大得多;
b.封頭的形狀,球形封頭的變薄量比橢圓形封頭大;
c.下沖模圓角半徑越大,變薄量越?。?/span>
d.上下沖模之間的間隙小,則變薄嚴重;
e.潤滑情況好,則減薄小;
f.加熱溫度越高,變薄量大;
g.壓邊力大,則變薄嚴重。
壓邊范圍的確定:
2800噸四柱封頭拉伸機(液壓機)壓制時如果不用壓邊圈,而封頭毛坯壁厚又較薄,則材料在切向壓應力的作用下,會失去穩定,形成皺紋和鼓包,嚴重時會造成廢品。采用壓邊圈不僅增加了材料的穩定性,而且在由壓邊圈產生的摩擦力的作用下增加了徑向應力,從而使材料有較好的變形條件。所以,確定在什么情況下需要采用壓邊圈是關系到封頭質量好壞的重要因素。一般來說,當滿足下式時,便需要采用壓邊圈。
2800噸四柱封頭拉伸機(液壓機)封頭沖壓過程:
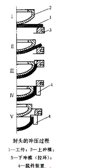
壓力容器封頭的沖壓通常在水壓機或油壓機上進行。沖壓過程是一個逐步提延的過程。為了減少摩擦,防止模具及封頭表面的損傷,提高模具使用壽命,沖壓前,在拉環上涂抹潤滑劑是十分必要的,這對不銹鋼、有色金屬尤為重要。
毛坯鋼板放置在下沖環上,并與下沖環對中。開動2800噸四柱封頭拉伸機(液壓機),直至上沖模降到與毛坯鋼板平面接觸然后加壓,鋼板便發生變形隨著上沖模的下壓,毛坯鋼板就包在上沖模的表面,并通過拉環。此時,封頭已沖壓成形,但由于材料的冷卻收縮,使之緊包在上沖模上,需用特殊的脫件裝置使封頭與上沖模脫離。封頭內徑≤2000mm時,常用的脫件裝置是滑塊,將2800噸四柱封頭拉伸機(液壓機)沖壓成型封頭過程滑塊推入壓住封頭邊緣,待上沖模提升時,封頭被滑塊擋住,便從上沖模上脫落下來,完成了沖壓過程。大直徑封頭的脫件裝置較復雜,即上沖模為一組合型的模具,由三瓣半橢球體及中心一錐形棒組成,當2800噸四柱封頭拉伸機(液壓機)沖壓結束,提起芯棒,瓣體自動合攏,封頭自動脫落。這種沖壓方法稱為一次成形法。對于低碳鋼和普通低合金鋼制成的一定尺寸(6S≤D0-di≤45S)封頭均可采用一次成形法使之沖壓成形。
對于薄壁封頭(D0-di≥45S)即使采用帶有壓邊圈的一次成形法,仍然會出現鼓包皺褶現象。此時,宜采用兩次成形法(下圖)。第一次沖壓采用比上沖模直徑小200mm左右的下拉環,將毛坯沖壓成碟形,此時可將2~3塊毛坯鋼板重疊起來進行成形;第二次采用與封頭規格相配合的上下模具,最后沖壓成形。

對于厚壁封頭(D0-di≤8S),由于所需的沖壓力較大,同時因毛坯較厚,邊緣部分不易壓縮變形,尤其是對球形封頭,在成形過程中邊緣厚度急劇增厚,因面導致底部材料嚴重拉薄。通常在壓制這種封頭時,也可預先把封頭毛坯車成斜面,再進行沖壓。

2800噸封頭拉伸成型液壓機

2800噸封頭拉伸成型液壓機
性能特點:
1、2800噸四柱封頭拉伸機(液壓機)機身為三梁四柱結構,采用全鋼板CO2焊接,焊接后通過回火振動處理,確保機身變形。液壓系統位于機身內,外型美觀,操作方便。該系列壓機設有獨立的液壓與電器控制系統,采用按鈕集中控制,可實現定程和定壓兩種成型工藝,具有壓力顯示和行程、壓力調節等功能。而且導柱、活塞桿中頻淬火后鍍硬鉻處理,生銹拉毛,油泵進油口裝有獨特的過濾裝置,確保油泵和閥的使用壽命。油路連接采用進口高壓軟管,大大降低機器噪聲。
對于客戶的特殊要求,我們可以特別設計生產,大限度的滿足客戶生產工藝要求。
2、2800噸四柱封頭拉伸機(液壓機)為四柱式導向結構,確保平穩精度高,適應于各種高精密壓裝于成型?;瑝K于工作臺平行精度極高,確保合模時沒有間隙。液壓系統采用進口保壓閥,保壓精度高。控制系統采用數控。所有位移,壓力,時間,補壓均采用數字控制,精準方便且故障率低。所生產出產品合格率大大提高,且更加有效的提高了工作效率。
3、2800噸四柱封頭拉伸機(液壓機)有定壓成型,定程成型,定時成型等多種成型方式。壓力顯示可以直接顯示噸位,行程顯示精確到0.01mm。定程定壓時均可數字控制,更加精確,大大降低了廢品率。
4、2800噸四柱封頭拉伸機(液壓機)系統工業電腦控制,采用閉環式控制,各種動作可以根據用戶要求任意設置。適應于各種生產線并聯,配合各種機械手與自動送料,真正實現數控全自動。動力系統為伺服控制,真正完成節能減排,自動化智能化等功能。
可選附件或功能:
●移動工作臺●沖裁緩沖裝置●壓邊滑塊、液壓墊四角分別調壓裝置(拉伸不對稱零件)●光電保護裝置●換模用浮動導軌和滾動托架●模具快速夾緊機構●行程、壓力、速度數顯數控裝置●觸摸式工業顯示屏●液壓系統加熱、冷卻裝置?!窬邆浔貉訒r功能,延時時間可調(選裝)?!耠娖飨到y采用PLC控制(選裝)。
山東威力重工設計生產的2800噸四柱封頭拉伸機(液壓機)采用四柱結構,它由機身、主缸、壓邊缸、行程限位裝置、潤滑裝置、液壓動力系統及電氣系統等部件組成,在封頭模具的作用下一次拉伸成型大直徑封頭。2800噸四柱封頭拉伸機(液壓機)工作原理:根據壓制封頭工藝的要求主缸能夠快速下行-減速壓制-保壓延時-泄壓回程-停止(任意位置)的基本工作循環,而且壓力、速度和保壓時間需能調節。頂出缸主要用來頂出工件,能夠實現頂出、退回、停止的動作。在封頭拉伸時,又要求頂出液壓缸上升、停止和壓力回程等輔助動作,同時還需要壓邊缸將坯料壓緊,以防止周邊起皺。公司是滕州地區大型實體生產廠家,可以根據客戶需求定做各種噸位封頭液壓機、封頭拉伸機、封頭拉伸成型液壓機、油罐封頭液壓機、不銹鋼封頭液壓機,有四柱式、框架式、組合式等多種機型供客戶選擇,采購定做歡迎來公司與技術面談,或電話咨詢:張經理:18306370898(可加微信)
上一篇:上一篇:1000噸砂輪成型液壓機模壓一次成型砂輪工藝步驟
下一篇:下一篇:冷壓太陽能壓力罐封頭成型500噸四柱拉伸液壓機







