山東威力重工生產的定制封頭拉伸機-4500噸封頭模壓機-封頭沖壓成型液壓機采用四柱液壓機結構簡單經濟實用,它是由上橫梁、滑塊、工作臺,立柱、主缸以及液壓系統組成。它的顯著特點是工作空間寬敞,整機結構簡單,工藝性好。機身采用上橫梁、活動橫梁,工作臺和四根立柱組成,工作缸安裝在上橫梁,活動橫梁和工作缸的活塞連接,以立柱為導向做上下運動,并傳遞工作缸的內產生力量,對于工件進行壓力加工。公司還可設計定做儲存罐封頭拉伸成型機、鋼瓶封頭拉伸機、不銹鋼封頭拉伸液壓機、碳鋼封頭拉伸機等,封頭拉伸機從315噸-5500噸,公司都可為客戶按需定做。熱壓封頭液壓機總公稱力范圍為8000kN~150000kN,冷壓封頭總公稱力范圍為6300kN~60000kN,其主機的開口高度、滑塊行程、工作臺面、拉伸壓邊力等可根據用戶需求和壓制工藝的需要來確定。采購定做封頭拉伸機、封頭沖壓成型液壓機設備,聯系公司張經理:18306370898(可加微信)

4500噸封頭拉伸機
封頭拉伸機-4500噸封頭模壓機-封頭沖壓成型液壓機的特點:
1、 封頭拉伸機-4500噸封頭模壓機-封頭沖壓成型液壓機四柱式結構性能簡單、經濟、實用;框架式結構鋼性好、精度高、抗偏載能力強;
2、 油壓控制采用整體式插裝閥集成系統,減少了泄露點,動作可靠,使用壽命長;
3、 封頭拉伸機-4500噸封頭模壓機-封頭沖壓成型液壓機采用PLC控制的電氣系統結構緊湊,工作靈敏、可靠,柔性好;
4、 工作壓力、行程可在規定范圍內按工藝要求調節,操作簡便;
5、 具有調整、雙手單次循環、(帶送料裝置的)連續工作三種操作方式;
6、 通過操作面板選擇,不僅可實現定程、定壓兩種成型工藝,而且可實現有墊、無墊、頂出三種工藝操作循環。
可選附件或功能:
1、移動工作臺
2、沖裁緩沖裝置
3、壓邊滑塊、液壓墊四角分別調壓裝置(拉伸不對稱零件)
4、光電保護裝置
5、觸摸用浮動導軌和滾動托架
6、模具快速夾緊機構
7、行程、壓力、數度數顯數裝控置
8、觸摸工業顯示屏
9、液壓系統加熱、冷卻裝置

4500噸封頭模壓機
封頭拉伸工藝:
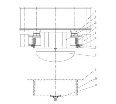
封頭拉伸機-4500噸封頭模壓機-封頭沖壓成型液壓機拉伸工藝如圖所示,凸模固定于拉伸滑塊上的上??鞊Q裝置及接筒上,模圈安裝于壓邊滑塊內,根據不同規格工件采用不同規格模圈,壓邊圈固定于模圈上,凹模固定于移動工作臺上,頂出旋轉裝置固定于下橫梁內。

封頭拉伸液壓機拉伸工藝圖示
1-拉伸滑塊2-壓邊缸3-上??鞊Q裝置及接筒4-模圈5-壓邊滑塊6-壓邊圈安裝法蘭7-壓邊圈8-凸模9-工件10-凹模11-頂出旋轉裝置

封頭拉伸流程圖
封頭拉伸機-4500噸封頭模壓機-封頭沖壓成型液壓機拉伸運動流程圖所示,狀態一為液壓機初始位置,狀態二為拉伸滑塊和壓邊滑塊在拉伸缸的驅動下一起快速接近工件,狀態三為拉伸滑塊不動,壓邊滑塊下行壓邊圈壓住工件,狀態四為壓邊滑塊不動(有壓邊力)拉伸滑塊下行拉伸工件,狀態五為拉伸滑塊、壓邊滑塊退回到位,頂起旋轉裝置頂起工件。其工藝流程為:液壓機初始位置→拉伸滑塊與壓邊滑塊一起快降→壓邊滑塊單獨快降→壓邊滑塊加壓→拉伸滑塊下行拉伸工件→保壓延時及卸壓→拉伸滑塊壓邊滑塊回程→頂起旋轉裝置頂起工件→(工件移走后)頂起旋轉裝置退回。頂起旋轉裝置頂出起始時間可由滑塊的回程中設定的位置激發,以提高工作頻次。
控制系統:
1、封頭拉伸機-4500噸封頭模壓機-封頭沖壓成型液壓機的液壓系統設計,需要實現對拉伸滑塊、壓邊滑塊的壓力進行獨立控制,保證生產過程中拉伸滑塊和壓邊滑塊的壓力可實時控制,互不干擾。封頭拉伸機-4500噸封頭模壓機-封頭沖壓成型液壓機的拉伸、壓邊、頂出分別設置了獨立的液壓控制回路,在各回路中設置了壓力比例控制閥、壓力傳感器,通過壓力傳感器將壓力信號轉變為電信號傳輸給PLC,可實現數字顯示和壓力比例控制,以實現封頭成形件的壓邊和拉伸、頂出等工藝。
2、為了保證液壓系統的穩定性、可靠性、可維護性,液壓系統中,在關鍵部位設有壓力檢測點。設有可拆卸的壓力檢測表,通過壓力檢測點可以快速的診斷液壓機出現的故障和監測封頭沖壓成型液壓機的工作狀態。
3、封頭拉伸機-4500噸封頭模壓機-封頭沖壓成型液壓機液壓系統的動力部分由上下三個油箱組成。上油箱布置于上梁后部或置于上梁頂部,為設備拉伸油缸和壓邊油缸提供動力油。下油箱1置于地面以下,為頂出旋轉裝置及提升夾緊缸部分提供動力油。下油箱2放置在上料機構上,為上料機構中的油缸提供動力油。

封頭拉伸機-4500噸封頭模壓機-封頭沖壓成型液壓機的組成:
1、封頭拉伸液壓機機身采用四柱或預緊分體框架式結構。一般成形件的封頭拉伸液壓機采用四柱式,結構簡單,經濟實用,以四立柱為導向。精度要求較高的封頭件采用預應力框架結構,以四角八面平面導軌導向,導向精度高,抗偏載能力強。
2、封頭拉伸機-4500噸封頭模壓機-封頭沖壓成型液壓機主要由主機、拉伸缸、壓邊缸、液壓系統、電氣系統、潤滑系統、冷卻系統等部分組成。其中主機包括上橫梁、下橫梁、立柱、螺母、拉伸滑塊、壓邊滑塊、移動工作臺等。其機身通過16個螺母、四根立柱連接成具有足夠剛度和強度的封閉結構,拉桿采用液壓預緊方式緊固,確保整機剛性。
3、上橫梁內裝有主油缸組件,拉伸滑塊和壓邊滑塊安裝于上下梁之間,拉伸滑塊上平面與主油缸組件通過螺栓連接,拉伸滑塊下平面安裝拉伸模具連接筒,連接筒由快換油缸夾緊,壓邊缸安裝在拉伸滑塊內,下端通過法蘭連接壓邊滑塊,壓邊滑塊內安裝有快換模圈裝置。下橫梁內裝有頂出旋轉裝置,用于工件拉伸完成后頂出和旋轉涂油,在下橫梁上平面裝有移動工作臺及其提升夾緊裝置、定位裝置、貼合檢測裝置。立柱與滑塊的導向采用合金材料,硬度高,耐磨性好,導向精度高。
4、拉伸部分采用三缸結構,壓邊部分通常采用八缸結構。為了實現模具的快速換模,實現柔性生產,封頭拉伸機-4500噸封頭模壓機-封頭沖壓成型液壓機可設有移動工作臺,移動工作臺可實現前后移動。移動工作臺其驅動方式為自移式,采用變頻調速,實現其快速和慢速的轉換。

封頭沖壓成型液壓機
封頭拉伸機技術參數:(僅供參考)
| 技術參數 | 單位 |
YW28-630/ 1030 |
YW28-800/ 1300 |
YW28-1200/ 2000 |
YW28-1600/ 2600 |
|
| 公稱力 | KN | 10300 | 13000 | 20000 | 26000 | |
| 拉伸力 | KN | 6300 | 8000 | 12000 | 16000 | |
| 壓邊力 | KN | 4000 | 5000 | 8000 | 8000 | |
| 液壓墊力/頂出力 | KN | 2500 | 2500 | 5000 | 5000 | |
| 打料力 | KN | 500 | — | 200 | — | |
| 拉伸滑塊行程 | mm | 1300 | 1400/1300 | 1500 | 1500 | |
| 壓邊滑塊行程 | mm | 1200 | 1400/1200 | 1200 | 1200 | |
| 液壓墊行程 | mm | 350 | 650/350 | 400 | 400 | |
| 拉伸滑塊尺寸 | 左右 | mm | 2500 | 2700 | 3800 | 2800 |
| 前后 | mm | 1500 | 1600 | 1900 | 1600 | |
| 壓邊滑塊尺寸 | 左右 | mm | 3200 | 2500/4000 | 4500 | 3500 |
| 前后 | mm | 2200 | 2200 | 2500 | 2200 | |
| 液壓墊尺寸 | 左右 | mm | 2400 | 1500/2500 | 3600 | 2365 |
| 前后 | mm | 1420 | 1500/1500 | 1850 | 1450 | |
| 工作臺尺寸 | 左右 | mm | 3200 | 2500/4000 | 4500 | 3500 |
| 前后 | mm | 2200 | 2200 | 2500 | 2200 | |
| 拉伸滑塊開口 | mm | 2200 | 2300/2000 | 2100 | 2200 | |
| 壓邊滑塊開口 | mm | 2200 | 2300/2000 | 1800 | 1900 | |
| 拉伸滑塊速度 | 快下 | mm/s | 270 | 200/300 | 350 | 350 |
| 工作 | mm/s | 10~30 | 11-20/12-30 | 20-40 | 15-33 | |
| 回程 | mm/s | 250 | 110/250 | 330 | 330 | |
| 壓邊滑塊速度 | 快下 | mm/s | 270 | 300 | 350 | 350 |
| 工作 | mm/s | 15-40 | 15-32 | 40 | 37 | |
| 回程 | mm/s | 250 | 250 | 330 | 330 | |
| 主電機功率 | KW | 155 | 108/180 | 320 | 330 | |
山東威力重工機床有限公司設計生產的封頭拉伸機-4500噸封頭模壓機-封頭沖壓成型液壓機設備,具有四柱和框架式兩種形式,可作多缸式和單缸式。該機結構由壓邊塊,拉伸滑塊和液壓墊三部分組成。適用于復雜零件和偏心載荷零件的拉深成形,如是拉深,彎曲,成型等,能夠滿足單動、雙動等工藝要求。配合液壓墊工作,能實現正拉深、反拉深、復合拉深、二次拉深等多種成型工藝。采用閉式組合框架,液壓預緊機身結構,保證機身剛度,機身采用四角八面導軌結構,導向精度高,抗偏載能力強,且精度保持性好。采購定做大型封頭液壓機設備,客戶可來公司先實地考察公司實力,與技術面談,前期咨詢,也可以在于公司電話咨詢張經理:18306370898(可加微信)
上一篇:上一篇:800噸集裝箱板拉伸成型液壓機沖壓一體成型工藝
下一篇:下一篇:拉伸1.5mm厚不銹鋼盒子一次成型用800噸四柱液壓機






